रिंगिंग रिंगको संयोजनको संयोजनको साथ संयोजनको साथ प्रयोग गरीएको छ कि दबाबको कार्य अन्तर्गत कम-प्रेस साइडमा निचोरेको दाल निचोरेर सिलिंग औठी रोक्न। दबाब बढ्दै जाँदा, "slarroge" द्वारा छाप लगाउने घण्टी बिग्रिएको छ र अन्ततः छाप गर्न असफल हुन्छ। यदि एक रिटरिंग रिंग प्रयोग गरिएको छ भने, छापी रिंगको "स्वीकृति" रोक्न सकिन्छ। तसर्थ, retining ring rings criping ribling रिंग को पूरक छ। यो एक मोहर बाहिर छैन, तर यसले सींगिंगको घण्टीको कार्य दबाव दायरा बढाउँदछ।
यसलाई "स्वीकृति" बाट रोक्न ओ-रिंगको संयोजनको साथ पुन: औंठीमा प्रयोग गरिएको छ, यसले ओ-रिंगको रक्षा गर्दछ, यसको सेवा जीवन बढाउँदछ, र प्रोसेसिंग लागतहरू कम गर्दछ, जसले प्रशोधन लागतहरू कम गर्दछ।
उत्पाद सुविधाहरू र अनुप्रयोगहरू:
रिंग फारम र संरचना प्रकार राख्दै
प्राविधिक डेटा
काम गर्ने दबाब: स्थिर मुहरले 200,000 मा पुग्न सक्छ (रिट्रोनिंग औठीमा निर्भर गर्दै), पारस्परिक मोहरका लागि 400MPTA पुग्न सकिन्छ। स्वि ing / ढिलो गति रोटेशन 1 15mppa सम्म पुग्न सक्छ।
गति: पारस्परिक र रोटेशन 2M / S मा पुग्न सक्दछ (सामग्रीमा निर्भर गर्दै)।
क्रम मा स्तरहरू
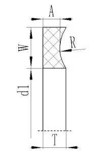
(1) T01 श्रृंखला बनाउने रिंगहरू ईन्टरनर व्यास D1 को मिल्दो छन्, चौडाइ w र मोटाईट टी।
उदाहरण: T01-0035656 D1: 3.56 * w: 1.3535 * t: 1.23
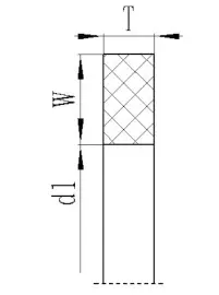
(2) T02 श्रृंखला ringsing ्ग रिंगेन इननर व्यास D1, चौडाई डब्ल्यू, र टी मोटाई
उदाहरण: T02-027 D1: 33.78 * w: 1.35 * * A: 1.14 * t: 1.24



ठेगाना
No.1 Ruichehen सडक, डो ongliuting औद्योगिक पार्क, चेंग ang जिल्ला, Qingdao शहर, शान्डंग्रिंग प्रदेश, चीन
टेलिफोन