ओ-रिंगहरू हाइड्रोलिक, धिनेटिक कम्पोनेन्टहरू र प्रणाली उपकरणहरूमा प्रयोग गरिएको सबैभन्दा लोकप्रिय छापहरू हुन्, र विभिन्न मुसालाइ अवसरमा व्यापक रूपमा प्रयोग गरिन्छ।
ओ-रिंगहरू छापिएका तत्वहरू साथै हाइड्रोलिक स्लाइडिंग सिलहरू र धुलोको घण्टीहरूको लागि तत्वहरू लागू गर्न सकिन्छ। निर्दिष्ट तर तापक्रम, दबाव, र विभिन्न तरल र ग्यास मिडिया अन्तर्गत, यी उत्पादनहरूले स्थिर वा गतिशील अवस्थामा छापहरू कार्य गर्न सक्छन्। यो औद्योगिक क्षेत्रमा भन्न सकिन्छ कि यो औद्योगिक क्षेत्रमा मर्मत र मर्मतसम्भार हो कि, अरोस्पेस, मोटरटाइटिभ उद्योग, र सूचनाहरू, ओ-रिंगहरू लगभग जताततै हुन्छन्।
उत्पाद सुविधाहरू र अनुप्रयोगहरू:
O-rings छ धेरै सुविधाहरू छन्:
(1) विभिन्न प्रकारका सील फलकहरू, स्थिर मुहर र गतिशील मुहर सहित।
(2) एक किसिमका चलचित्रहरूको एक किसिमका लागि उपयुक्त, जस्तै घुमाउने गति, अक्षीय पारस्परिक गति वा संयुक्त गति।
()) तेल, पानी, ग्याँस, ग्यास, रासायनिक मिडिया वा मिश्रित मिडियालगायत विभिन्न छाप मिडियाका लागि उपयुक्त मात्रामा उपयुक्त;
()) क्रस-अनुभागीय संरचना अत्यन्त सरल छ, र यसमा एक सेल्फ-मुहर प्रभाव, भरपर्दो मुद्रण प्रदर्शन, कम्प्याक्ट संरचना, र सजिलो सम्मेलन र बिभिन्न सभा छ;
()) त्यहाँ धेरै प्रकारका सामग्रीहरू छन्;
()) कम लागत;
()) गतिशील घर्षण प्रतिरोध तुलनात्मक रूपमा सानो छ।
ओ-रिंग मापदण्डको सूची तलको तालिकामा देखाइएको छ:
| तालिका 1-R-RED मानकको सूची | |||||||
| स्तर | O-repress क्रस-अनुभागीय व्यास D2 |
![]() |
|||||
| अमेरिकी मानक 8068 को रूपमा ब्रिटिश मानक BS 1116 |
1.7 8 |
2.62 | 3.53 | 5.33 | 6.99 | - | |
| जापानी मानक जेस बी 2 2004001 | 1.9 | 2.4 | 3.1 | 3.5 | 5.7 | 8.4 | |
| अन्तर्राष्ट्रिय मानक IS0 : 3601/1 जर्मन मानक DIS371/11 चिनियाँ मानक GB 3452.1 | 1.8 | 2.65 | 3.55 | 5.30 | 7.00 | - | |
| चिनियाँ मानक GB123535 | 1.9 | 2.4 | 3.1 | 3.5 | 5.7 | 8.6 | |
| मनपर्दो मेट्रिक आकार | 1.0 | 1.5 | 2.0 | 2.5 | 3.0 | 3.5 | |
| 4.0 | 4.5 | 5.0 | 5.5 | 6.0 | 7.0 | ||
| 8.0 | 10.0 | 12.0 | - | - | - | ||
| अमेरिकी मानक 8068 को रूपमा (900 श्रृंखला) |
1.0 2 |
1.42 | 1.63 | 1.83 | 1.98 | 2.08 | |
|
2.2 1 |
2.46 | 2.95 | 3.00 | - | - | ||
मोहर संयन्त्र
O-ring एक स्वचालित दुई-मार्ग सीलिंग तत्व हो। स्थापनाको बखत, यसको रेडियल र अपूरिठ पूर्व-संकलनले ओ-रिंग आफैंको प्रारम्भिक मुहर हुँदै जान्छ, जसले प्रणालीको दबाबको बृद्धि गर्दछ।
(1) असह्य स्थिति
(2) दबाब बिना संकुचित राज्य
()) दबाब
प्रदर्शन प्यारामिटरहरू
तालिका 1-2 ओ-रिंग प्रदर्शन प्यारामिटरहरू
| स्तर | स्थिर छाप | गतिशील छाप |
| काम दबाब | औंठी बर्खास्त नगरीकन, अधिकतम 20mpa पुग्न सक्छ; रिंग रिंगको साथ, अधिकतम XMPTA पुग्न सक्दछ: विशेष बर्खास्त रिंगको साथ, अधिकतम 200,000 पुग्न सक्छ | औंठी बर्खास्त नगरी, अधिकतम दबाव gampta सम्म पुग्न सक्छ; रिंग रिंग, उच्च दबावको साथ |
| चाल | 0.5m / S अधिकतम, घुमाउने 2m / s अधिकतम घुमाउँदै | |
| ताप | सामान्य अवसरहरू: -30 ~ 30 ~ + 110, विशेष अवसरहरू: -60 ~ ~ ~ ~ ~ 0, घुमाउने अवसरहरू: -30 ~ ~ ~ ~ 0 | |
| माध्यम | हेर्नुहोस् (सामग्री गुणहरू तालिका) | |
O-ring चयन
1 मौलिक र कार्य सर्तहरू
O-ing ing सामग्री चयन गर्दा, कार्य माध्यमको साथ अनुकूलता पहिले मान्नु पर्छ, र कार्यस्थल, निरन्तर काम गर्ने समय, र सिलि primary कार्य चक्र पनि लिनु पर्छ। यदि यो घुमाउने स्थितिमा प्रयोग भएको छ भने, घर्षणको तापले गर्दा तापक्रम बढ्नु पर्छ। विभिन्न छाप लगाउनु सामग्रीको फरक शारीरिक र रासायनिक गुणहरू हुन्छन्, कृपया विवरणका लागि "भौतिक गुणहरू तालिका" लाई सन्दर्भ गर्नुहोस्।
2 मोहर प्रकार र स्थापना ग्रोभ आकार
(1) सिलिंग फारमका अनुसार यसलाई विभाजन गर्न सकिन्छ: स्थिर सील (नजिकैको सतहहरू बीच) र RELIAMIC SHATER (SILILIC SHARCER CORCERITITITITITITITION (SILICIC SHARCERTERITITITITITION (SILICLIC SHARCICERITITITITITITITITITION (SINAINIC SHARCICERITITITITITION (SILIMIC SHARCERESERITITITITITITION (CLAINOIC SILRERCEDERERERERERER CORDERERERET CORDERINGERING को साथ मोल
(2) छापको उद्देश्यका अनुसार यसलाई विभाजन गर्न सकिन्छ: प्रूल मोहर, शाफ्ट छाप र रोटरी मोहर;
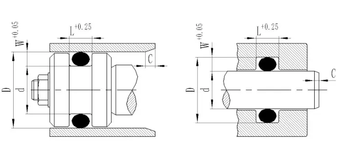
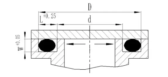
()) स्थापना फारमका अनुसार यो: अक्ष स्थापना (यसको क्रस सेक्सन स्थापना पछि हटाइएको) र यसको क्रस स्थापना स्थापना पछि नै विरामर्जन गरिएको छ)।
①axial स्थिर छाप
आन्तरिक दबाव: ओ-रिंगको बाहिरी व्यास र ग्रूवको बाहिरी व्यासको प्रीट व्यायारको मूल रूपमा नजिक वा 1 ~% भन्दा ठूलो हुनुपर्दछ।
बाह्य दबाव: ओ-रिंगको भित्री व्यास व्याको भित्री व्यापक वा थोरै हुनु पर्छ, तर करिब we% भन्दा कम हुँदैन।
तालिका 1--3 अक्षीय स्थिर सील फाउन्डर आयामहरू
| O-ring तार व्यास d2 | गौरोही गौरव W + 0.05 | भूल चौराथ L + 0.25 | O-ring तार व्यास d2 | गौरोही गौरव W + 0.05 | भूल चौराथ L + 0.25 | O-ring तार व्यास d2 | गौरोही गौरव W + 0.05 | भूल चौराथ L + 0.25 |
| 1 | 0.7 | 1.4 | 2.7 | 2.1 | 3.8 | 5.7 | 4.6 | 7.6 |
| 1.2 | 0.9 | 1.6 | 2.8 | 2.1 | 4 | 6 | 4.8 | 8.1 |
| 1.25 | 0.9 | 1.7 | 3 | 2.3 | 4.1 | 6.5 | 5.3 | 8.6 |
| 1.3 | 1 | 1.7 | 3.1 | 2.4 | 4.2 | 6.99 | 5.7 | 9.7 |
| 1.5 | 1.1 | 2.1 | 3.5 | 2.7 | 4.8 | 7 | 5.7 | 9.7 |
| 1.6 | 1.2 | 2.2 | 3.53 | 2.7 | 4.9 | 7.5 | 6.2 | 10.1 |
| 1.78 | 1.3 | 2.5 | 3.55 | 2.7 | 5 | 8 | 6.6 | 10.7 |
| 1.8 | 1.3 | 2.6 | 3.6 | 2.8 | 5.1 | 8.4 | 7.1 | 11.1 |
| 1.9 | 1.4 | 2.7 | 3.7 | 2.9 | 5.2 | 8.5 | 7.2 | 11.3 |
| 2 | 1.5 | 2.8 | 4 | 3.1 | 5.5 | 9 | 7.6 | 12 |
| 2.2 | 1.6 | 3.1 | 4.3 | 3.3 | 5.9 | 9.5 | 8.1 | 12.5 |
| 2.4 | 1.8 | 3.3 | 4.5 | 3.5 | 6.1 | 10 | 8.5 | 13.6 |
| 2.5 | 1.9 | 3.5 | 5 | 4 | 6.7 | 10.5 | 8.9 | 14 |
| 2.6 | 2 | 3.6 | 5.3 | 4.2 | 7.2 | 11 | 9.4 | 14.7 |
| 2.62 | 2 | 3.7 | 5.33 | 4.2 | 7.3 | 12 | 10.4 | 15.7 |
| 2.65 | 2 | 3.8 | 5.5 | 4.5 | 7.4 | 15 | 13.2 | 19.4 |
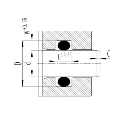
②radial स्थिर छाप
रेडियल प्वालले: स्थापना ग्रुप शाफ्टमा छ, र ओ-रिंगको भित्री व्यास बराबर वा थोरै बराबर र थोरै बराबर छ वा थोरै बराबर छ वा थोरै बराबर छ वा थोरै बराबर छ वा थोरै बराबर व्यापक तलको व्यास घाटा भन्दा थोरै छ।
रेडिली शाफ्ट मुहर: स्थापना ग्रुव प्वालमा छ, र ओ-रिंगको भित्री व्यास र सिल गरिएको शाफ्ट व्यास डी सकेसम्म नजिक छ।
| तालिका 1--4 आयामहरू रेडियल स्थिर सील स्थापनाको मूव | |||||||||||
| O-ring तार व्यास D2 | गौरोही गौरव W + 0.05 | भूल चौराथ L ± 0.25 | C | O-ring तार व्यास D2 | गौरोही गौरव W + 0.05 | भूल चौराथ L ± 0.25 | C | O-ring तार व्यास D2 | गौरोही गौरव W + 0.05 | भूल चौराथ L ± 0.25 | C |
| 1 | 0.75 | 1.3 | 1.2 | 2.7 | 2.1 | 3.6 | 2 | 5.7 | 4.6 | 7.6 | 3.5 |
| 1.2 | 0.9 | 1.6 | 1.2 | 2.8 | 2.2 | 3.7 | 2 | 6 | 4.9 | 7.9 | 3.5 |
| 1.25 | 0.9 | 1.7 | 1.2 | 3 | 2.3 | 3.9 | 2.5 | 6.5 | 5.4 | 8.4 | 4 |
| 1.3 | 1 | 1.7 | 1.2 | 3.1 | 2.4 | 4 | 2.5 | 6.99 | 5.8 | 9.2 | 4 |
| 1.5 | 1.1 | 2 | 1.5 | 3.5 | 2.7 | 4.6 | 2.5 | 7 | 5.8 | 9.3 | 4 |
| 1.6 | 1.2 | 2.1 | 1.5 | 3.53 | 2.7 | 4.7 | 2.5 | 7.5 | 6.3 | 9.8 | 4 |
| 1.78 | 1.3 | 2.4 | 1.5 | 3.55 | 2.8 | 4.7 | 2.5 | 8 | 6.7 | 10.5 | 4 |
| 1.8 | 1.3 | 2.4 | 1.5 | 3.6 | 2.8 | 4.8 | 2.5 | 8.4 | 7.1 | 10.9 | 4.5 |
| 1.9 | 1.4 | 2.5 | 1.5 | 3.7 | 2.9 | 4.9 | 2.5 | 8.5 | 7.2 | 11 | 4.5 |
| 2 | 1.5 | 2.6 | 2 | 4 | 3.2 | 5.2 | 3 | 9 | 7.7 | 11.7 | 4.5 |
| 2.2 | 1.7 | 3 | 2 | 4.3 | 3.4 | 5.6 | 3 | 9.5 | 8.2 | 12.3 | 4.5 |
| 2.4 | 1.8 | 3.2 | 2 | 4.5 | 3.6 | 5.8 | 3 | 10 | 8.6 | 13 | 5 |
| 2.5 | 1.9 | 3.3 | 2 | 5 | 4 | 6.5 | 3 | 10.5 | 9 | 13.8 | 5 |
| 2.6 | 2 | 3.4 | 2 | 5.3 | 4.3 | 7 | 3 | 11 | 9.5 | 14.3 | 5 |
| 2.62 | 2 | 3.5 | 2 | 5.33 | 4.3 | 7.1 | 3.5 | 12 | 10.5 | 15.6 | 5 |
| 2.65 | 2 | 3.6 | 2 | 5.5 | 4.5 | 7.2 | 3.5 | 15 | 13.2 | 19.2 | 5 |
③vavum Shaum (स्थिर मुहर)
भ्याकुम प्याकेजिंग विशेष परिस्थितिमा एक ओ-औठी मोहर हो, र सिल गरिएको प्रणालीको दबाव 1 मानक वातावरण भन्दा कम छ (101..3225bpe)।
यसको अनुप्रयोग र स्थापना गिरावट आकार आवश्यकताहरू निम्नानुसार छन्:
एक। स्थापना ग्रुप स्पेस लगभग 100% विकृति पछि ओ-रिंगको मात्रा भरिन्छ, जसले सम्पर्क क्षेत्र बढाउन सक्दछ र Elastomer मार्फत भिन्नता समय।
b ओ-रिस्ट सेक्सन सेक्सन सेक्शन विकृति लगभग% 0% हो।
c भ्याकुम ग्रीस प्रयोग गर्नुपर्दछ (चुहावट कम गर्न)।
d स्थापनाको प्रत्येक सतहको सतह सतहको सतह हाइड्रोलिक स्थिर छापहरूको आवश्यकताहरू भन्दा बढी मान्नुपर्दछ, र सम्पर्क दायरा एफटीपी 500% भन्दा बढी हुनुपर्दछ।
d O-ring सामग्रीको बनेको हुनुपर्दछ जुन ग्यास, कम पारगम्यता र कम कम्प्रेशनसँग उपयुक्त छ। यहाँ, हामी फ्लुरोबूबर को उपयोग सिफारिस गर्दछौं।
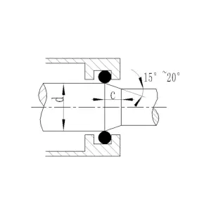
④uradial हाइड्रोलिक गतिशील सील
ओ-औंठी आन्दोलनको क्रममा विस्थापित हुनेछ, यसको अनुप्रयोग कम दबावमा सीमित हुन्छ (औंठीको बृद्धि बिना) र गति (पाउने गति = 0.5M / S; रोटरी गति = 2000 / s)।
। कडाई कारक
O-ing ingd सामग्रीको कठोरता मुठिने प्रदर्शन मूल्यांकन को लागी एक महत्वपूर्ण सूचकहरु मध्ये एक हो। ओ-रिंगको कठोरताले ओ-रिंग र ग्रूको अधिकतम स्वीकार्य पातलो अन्तर निर्माण गर्दछ। सामान्यतया, किनार A70 को नाइट्रिल रबर प्रदान गरिएको छ, जसले धेरै जसो प्रयोग सर्तहरू पूरा गर्न सक्दछ।
। एक्लोजन अन्तर
अधिकतम स्वीकार्य स्वीकृति अन्तर GAX GAX प्रणाली दबाबसँग सम्बन्धित छ, ओ-रिंगको क्रस-अनुभागीय व्यास, र सामग्रीको कठोरता। सामान्यतया, उच्च कार्यको दबाव, थोरै स्वीकार्य बाह्य बाहिरी एक्स्ट्रसन ग्यारेज G अधिकतम। यदि तीव्र दायरा बाहिर छ भने, यसले o-औंठीलाई बाह्र र बिग्रिएको हुन दिन्छ।
रेडियल गतिशील ओठमा रिटर्न रिंग प्रयोग गर्न सिफारिश गरिन्छ, जसले रेडियल अन्तरमा निचोडबाट निचोरेर कार्यलाई बढावा दिन सक्छ। जब दबाब gppa र भित्री व्यास भन्दा बढि हुन्छ> 50mm, र दबाब 10 अम्पाद भन्दा ठूलो छ र भित्री व्यास <कमिला हो, यसलाई बन्डेन रिंग प्रयोग गर्न सिफारिस गरिन्छ।
स्थिर मुहाल सिलिंग अनुप्रयोगहरूको लागि, H4 / g6 मिलाउन सिफारिस गरिन्छ।
। ट्यूटिल र कम्प्रेसन रेलहरू
जब ओ-रिंग ग्रूवमा स्थापना हुन्छ, यसलाई निश्चित रूपमा संकुचित गरिनेछ। यदि स्ट्रचिंग र कम्प्रेसन मानहरू धेरै ठूला छन्, ओ-रिंगको क्रस सेक्सन अत्यधिक विस्तारित वा कम हुनेछ। यसको प्राथमिक प्रभावलाई असर नगर्न यसलाई निम्न दुई पोइन्टहरू कडाईका साथ अनुसरण गर्न सिफारिस गरिन्छ:
(1) रेडियल प्वालको सिलरिंगको लागि: ओ-रिंग एक स्ट्रेच गरिएको राज्य (i.e. d> D2) मा प्राथमिकता (I.E. D2) ले क्रस-अनुभागीय व्यास दर 0% ले घटेको छ।
विस्तारको कारण = (D-2 / D2) × 100% <%%
समीकरणमा: D- माउन्टिंग माउन्टिंगको तल्लो व्याकुल रेडियल प्वालमा ग्रूव
D2- O-ring को भित्री व्यास
(2) रेडियल शाफ्ट सिलहरूको लागि, ओ-रिंगको परिधिसँग अनुक्षेपण गरिएको छ (I.E. D1> d), र अधिकतम स्वीकृत परिधि गर्ने कम्प्यन दर %% छ।
कम्प्रेसन अनुपात = (D1-D) / D1 × 100% <%%
समीकरणमा: D1-OTER OWNER OVERERER
रेडियल शाफ्ट मुहरमा मुर्दाको ग्रुवको ग्रुप व्यायामको डी-तल्लो व्यास
। ओ-रिंगहरू घुमाउने शाफ्ट सिलहरूको रूपमा प्रयोग गरिन्छ
O-rings कम-गति रोटेशन र छोटो-चक्र घुमाउने शाफ्टहरूको लागि सिलको रूपमा पनि प्रयोग गर्न सकिन्छ। जब परिरथात्मक गति 0.5m / s भन्दा कम हुन्छ, ओ-रिंग चयन सामान्य डिजाइन मापदण्डहरूमा आधारित हुन सक्छ; जब अवसन्तुय गति 0.5m / s भन्दा माथि छ, उज्ड रबर रिंग तानको रूपमा संकुचित हुन्छ (माथिको ईन्स्टोमेन 1% करिब 2% ठूलो हुन्छ। ओ-रिंग ग्रूवमा स्थापना भएपछि, यो रेद्रिकलीलीको रेख्रा गठन गर्न संकुचित छ, जसले गर्दा क्लोबुक्शन सर्तहरू सुधार गर्दै।
। स्थापना कम्प्रेसन बल
स्थापनाको बखत, कम्प्रेसन बल प्रारम्भिक कम्प्रेसनको डिग्री र सामग्रीको कठोरताका डिग्रीसँग सम्बन्धित छ। आंकडाले युनिट कम्प्रेसन बल र सेन परिषदको क्रस-अनुभागीय व्यास प्रति केन्द्रको बीचको सम्बन्ध देखाउँदछ, जुन O-R औंक स्थापना गर्दा कम्प्रेसन बलको आकार अनुमान गर्न प्रयोग गरिन्छ।
स्थानीय संरचना डिजाइन
किनभने यो गम्भीर क्षतिबाट बच्न o औंठी निचोरेकी हुनेछ, प्वाल अन्त हुन, प्वाल अन्त वा शाफ्ट अन्त्य प्रशोधन हुन सक्छ, र किनाराहरू गोलाकारहरू हुनुपर्दछ र जलाशयहरू हटाइन्छ। यदि O- औंठी स्थापनाको बेलामा ट्रान्सभर्स प्वालको माध्यमबाट पास गर्न हो भने, संक्रमणको प्वाललाई चरम वा गोलाकार पनि गर्नुपर्दछ।
प्वाल चेमफर
शाफ्ट चेमफर
चेमफ्रिन्सिंग / ट्रान्जिसन प्वालको राउन्ड
तालिका 1-10 न्यूनतम चेमफर लम्बाइ क्यामिन
| सेक्सन व्यास व्यास डब्ल्यू | ≤1.7878, 1.800 | ≤2..62, 2.6565 | ≤3..53, 3.555 | .3..300, .3..3333 | ≤7.00 | > 40.400 | |
| न्यूनतम चेमर लम्बाई सीदारी | 1 ° ° | 2.5 | 3.0 | 3.5 | 4.0 | 5.0 | 6.0 |
|
|
20 ° | 2.0 | 2.5 | 3.0 | 3.5 | 4.0 | 4.5 |
चामफर सतह कतै / RZ≤4.0μm mm ra ra≤0.8μm
आकार र सतह दोषहरूको अनुमतिहरू अनुमतिहरू
हामी ओ-रिंगमा आकार र सतह दोषहरू दुई कोटिहरूमा वर्गीकृत गर्छौं: एन र एस।
(1) एन: हाम्रो मानक गुण प्रतिनिधित्व गर्दछ, जुन पूर्ण रूपमा उच्च गुणवत्ता आवश्यकताहरू र दैनिक अनुप्रयोगहरू भेट्टाउन सक्दछ।
(2) s: आकार र सतह दोषहरूको लागि धेरै उच्च आवश्यकताहरूको साथ सम्भावित अवसरहरूका लागि उपयुक्त, सामान्यतया ठूलो उत्पादन र उच्च लागत आवश्यक छ।
मोल्ड मिल्कुल
मोल्ड स्प्रिट्सिंग फ्ल्यास एच
मोल्ड स्प्लिटेटिंग संकुचन
अत्यधिक trimming
प्रवाह चिन्हहरू
अन्य दोषहरू
| तालिका 1-8 ओ-रिंग आकार र सतह दोषहरू | ||||
| त्रुटि | श्रेणी | सेक्सन डब्ल्यूको अनुमति दिईएको विचलन | ||
| ≤2.65 | > 2.65। | |||
| त्रुटि मोड्युलस | चौडाई H | N | 0.06 | 0.12 |
| फ्ल्यास राशि | चौडाई H | S | 0.05 | 0.09 |
| संकुचन भाग | चौडाई H | N | 0. W W | 0. W W |
| चौडाई H | 0.05 | 0.09 | ||
| चौडाई H | S | 0.05 · w | 0.05 · w | |
| चौडाई H | 0.05 | 0.09 | ||
| अत्यधिक ट्रिममिंग चौड़ाई (अधिक ट्रिममिंगलाई अनुमति छ, तर यो क्रस सेक्सनको विचलन दायरा भित्र हुनुपर्दछ र सतहलाई सहजै राख्नु पर्छ) | चौडाई H | N | 0.4 | 1.2 |
| चौडाई H | S | 0.4 | 0.7 | |
| प्रवाह चिन्हहरू (परिधि दिशा) | मोटाई A | N | 0.0 आईडी | 0.0 आईडी |
| गहिराई f | 0.03 | 0.06 | ||
| मोटाई A | S | 0.05 आईडी | 0.05 आईडी | |
| गहिराई f | 0.03 | 0.06 | ||
| अन्य दोषहरू | मोटाई A | N | 0.3 · w | 0.3 · w |
| गहिराई f | 0.05 | 0.09 | ||
| मोटाई A | S | 0. W W | 0. W W | |
| गहिराई f | 0.03 | 0.06 | ||
| सतह कुनै पनि | mmm | N | 10 | 16 |
| mmm | S | 5 | 6 | |
| कोलाहल | / | N | अनुमति दिनु | |
| / | S | अनुमति दिनु | ||
भण्डारणीय गाइड
दीर्घकालीन भण्डारणको कारणले ओ-रिंगहरूको शारीरिक र रासायनिक गुणहरू वेवास्ता गर्न ओ-रिंगहरू लामो अवधिको भण्डारणको समयमा यू-रिंगहरू प्रभावित हुँदैन भन्ने कुराको लागि उचित भण्डारण वातावरण आवश्यक छ।
भण्डारनको समयमा, निम्नलिखित पोइन्टहरू अवलोकन गरिनु पर्दछ:
(1) भण्डारण वातावरण सुक्खा, धुलो-मुक्त र राम्रोसँग हावामा हुनुपर्दछ;
(2) तापमान + 1 ℃ above भन्दा माथि हुनुपर्दछ तर + 20 ℃ मा हुनु हुँदैन;
()) होलोलो प्याकेजिंग ब्यागहरू सकेसम्म धेरै, र आईटर्डिष्टहरू जोड्नुहोस् जसले ओ-रिंगको सामग्रीलाई नोक्सान गर्दछ;
()) भण्डारण वातावरणमा प्रत्यक्ष सूर्यको प्रकाशबाट बच्नुहोस् र अल्ट्राभाइयोलेटको प्रकाश स्रोतहरूबाट टाढा राख्नुहोस्;
()) भण्डारण गर्दा, O-rings तनाव-मुक्त राज्यमा हुनुपर्दछ, जुन हो, संकुचित भएन, र बप्तिस्मा लिने छैन:
()) यो स्ट्रिंग संग टाई गर्न निषेध गरिएको छ वा धातु भागहरूमा ह्या hang ्ग गर्नुहोस्।







ठेगाना
No.1 Ruichehen सडक, डो ongliuting औद्योगिक पार्क, चेंग ang जिल्ला, Qingdao शहर, शान्डंग्रिंग प्रदेश, चीन
टेलिफोन