हाइड्रोलिक धूलो सिलहरू एक छाप उत्पादनहरू मध्ये एक हो जुन राइकोन सिलहरू उत्पादन गर्न सक्छन्। तपाईं यस प्रकारको उत्पादनमा विभिन्न मोडेलहरूको बारेमा जान्न सक्नुहुनेछ र संरचनात्मक वर्ग संयोजनहरू पनि बनाउन सक्नुहुन्छ। यदि आवश्यक छ भने, तपाईं पनि हामीलाई मद्दत वा अनुकूलित समाधानहरूको लागि सम्पर्क गर्न सक्नुहुन्छ, वा नमूना पुस्तक प्राप्त गर्न हामीलाई सम्पर्क गर्नुहोस्।
RCFF01 र RCF02 दुई-बाटोको धुलो सिलहरू हुन् जुन एक डबल-लिप धुलो सीआर रिंग रिंग र एन्-आकारको रबर रिंगको साथ भरिएका छन्। O-रिंगले PTFE औंठीको पोशाकको लागि क्षतिपूर्ति दिन प्रिलोलोड बल प्रदान गर्दछ। RCF01 भारी-कर्तव्य अवसरहरू को लागी उपयुक्त छ, जस्तै धुलो वा चिसो वातावरण र उच्च-फ्रिक्वेन्सी पारस्परिक पारस्परिक गति। विभाजित ग्रुवहरू शाब्दिक व्यास 300 मिमी भन्दा कमको लागि प्रयोग गर्नुपर्दछ। RCF02 पारस्परिक गति, स्वि ing ्ग वा सर्पिल गति सर्तहरूको लागि उपयुक्त छ।
RCF03 एक-एक-एलिप धुलो रिंग रिंग रिंगर रि rumer ्ग्रेएको छ एक-lip धुलो स्केपर रिरफर रिरहरा र एक ओ-आकारको रबर रिंगको साथ। यसको प्रकार्य भनेको धुलो टाढा फ्याँक्नु हो र प्रणाली दूषित हुनबाट रोक्नुहोस्। यो पारस्परिक गति, स्वि ing ्ग वा सर्पिल गति अवस्थाको लागि उपयुक्त छ।
RCF04 र RCF05 एक विशेष आकारको रिंगिंग रिंगको साथ डबल-लिप धुलो रिंगहरू छन् योसँग लामो जीवन, कम घर्षण, कम घर्षण, दृश्यात्मकता र उच्च विश्वसनीयता छैन। RCF04 मुख्यतया कृषि मेसिनरी, हाइड्रोलिक प्रेस, हाइड्रोलिक नियन्त्रण प्रणालीहरू, फोर्लिफ्ट्स, रोलिंग मेशिन, रोलिंगहरू, र मेसिनरीमा अनलोडिंग र अनलोड गर्दै। RCF05 मुख्यतया हाइड्रोलिक प्रेस, इन्जेक्स मोल्ड मेशिन, रोलिंग मोडिंग्स, मेडिलर्गिकर्गिक मेसिनरी, आदिट को रूप मा क्फेल्फ्रोफेड सिस्टन डण्डको लागि उपयुक्त छ।
DHS धुलो रिंग एक दोहोरो-प्रकार्य धुलो औंठी हो, जसको दुबै राम्रो धुलोफ्रेफ प्रभाव हुन्छ र निश्चित छाप तेल फिल्म प्रकार्य। सामग्री उच्च-प्रदर्शन पोलियरेन, नाइट्रिलबर रबर र फ्लुरोरूम्बर हो।
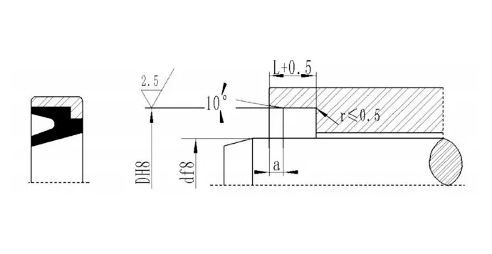
J- आकार र जा-आकारको हाइड्रोलिक सिलिन्डर पिस्टन डण्ड वा भल्भका डाँठहरू स्क्र्याप गर्न प्रयोग गरिन्छ। सामग्रीहरू पोलियरेथा (TPU / CPU) र रबर। ग्रुव र उत्पाद आयामहरू र लगनशीलता jb / t65757-933 र JB / T65656-9--33 को साथ पालना गर्दछ।
धुलो औंठी GSM ले पशु प्रदूषकहरूलाई हाइड्रोलिक प्रणाली र मोहरलिंग प्रणालीमा मिसाउने अनुमति दिन प्रयोग गरीन्छ, र बाहिरी सिलिंगको प्रभाव पार्दछ। सामग्री नाइट्रिल रबर, उर्फोस्टोरम्बबर, र पॉलीलीरेन हो।
GP1 र GP6 धुलो रिंगहरू प्रदूषकहरूलाई हाइड्रोलिक प्रणाली र मुहर प्रणालीमा मिसाउनेबाट रोक्नको लागि प्रयोग गरिन्छ। सामग्री नाइट्रिल रबर एनबीआर छ, र उखुरोब्बर एफकेएम उच्च तापमान मा चयन गरिएको छ। GP6 मुख्यतया धूलो पिस्टन डण्डको धुलोप्रसाफ सिलिंगको लागि प्रयोग गरिन्छ।
एक-प्रकारका धुलो औंठीमा धुलो, फोहोर, बालुवा र धातु चिप्स रोक्न प्रयोग गरिन्छ। बाह्य दूषित तत्वहरूले गर्दा एम्बेडिंग एट्याचमेन्टहरूले गर्दा खरोंचको जोखिम कम गर्नुहोस्। उत्कृष्ट desproffuse प्रभाव धूलो रिंग ओठ को विशेष डिजाइन मार्फत प्राप्त गर्न सकिन्छ। औंठीमा कडा पोशाक प्रतिरोध, सानो स्थायी विकृति, र बाह्य यांत्रिक प्रभावको प्रतिरोधको विशेषताहरू छन्। डस्टपरोफ रिंग दृढतापूर्वक अक्षुई खुला स्थितिमा अक्षर खुला स्थितिमा स्थापित गर्न सकिन्छ Starial खुला स्थितिको भण्डारण ग्रून्डर र धातुको बीचमा हस्तक्षेप प्रयोग गरेर फिट फ्लश हो, त्यसैले ओठले बाह्य कारणले गर्दा हुने क्षतिको बिरूद्ध अत्यधिक सुरक्षात्मक हुन्छ। ईन्जिनियरिंग परिप्रेक्ष्यबाट, कुनै पनि प्रकार डस्टप्रोफ रिंग एक उपयुक्त सिलिन्डर हेड मुकुट उपकरण हो।
उत्पाद सुविधाहरू र अनुप्रयोगहरू:
अर्डरिंग उदाहरण:
अर्डर मोडेल RCF01-80-PTFE3-R01
RCF01-मोडेल -0-स्ट्रिटर व्यास ptemer ptfe3-सामान्य संशोधित P01-मिलान रबर सामग्री कोड
नाइट्रिल रबर (एनबीआर) - R01 फ्लोरोरोब्बर (FKM) -R02
अर्डर मोडेल RCF02-80-PTFE3-R01
RCF02 मोडेल 80-STAMER DITFER PTFEF3-Indelive-Indielized PTFER RTF-troding रबर सामग्री कोड
नाइट्रिल रबर (एनबीआर) - R01 फ्लोरोरोब्बर (FKM) -R02
अर्डर मोडेल RCF03-80-PTFE3-R01
RCF03-मोडल -00-SERET DITFFER PTFEFIFF-IMMERIMINFFIFF-Endroliel Indem संशोधित PTFF-मिलान रबर सामग्री कोड
नाइट्रिल रबर (एनबीआर) - R01 फ्लोरोरोब्बर (FKM) -R02
अर्डर मोडेल RCF04-80-PTFE3-R01
RCF04-मोडेल -00-SERET DITFER VTFFER PTFFIFF-Endroliel Interized PTFER RT- मिलान रबर सामग्री कोड
नाइट्रिल रबर (एनबीआर) -R01 फ्लोरोरोब्बर (FKM) -R02
अर्डर मोडेल RCF05-80-PTFE3-R01
RCF05-मोडेल -00-SERTER DITFER PTFE3-सामान्य संशोधित PTFE ROURING-मिलान
नाइट्रिल रबर (एनबीआर) -R01 फ्लोरोरोब्बर (FKM) -R02
अर्डर मोडेल: DHS-130 * 1 133 * / / R-R01 D * d1 * g / h
J- टाइप धूलो छाप
Ja टाइप गर्नुहोस् धूलो छाप
जीएमएम
धुलो मोहर GSM अर्डर नम्बर को साथ चिह्नित गरिएको छ, उदाहरण: GSM4048 40-शाफ्ट रिममी d 48-ग्रूभ तलस व्यास तल ga 48-goove तलको डिमा
Gp1
चिह्नित उदाहरण: GP1-70 * * -2 * / / U मोडल-D * l / h
GP6
चिह्नित विधि: GP6-700 * .60..6 * .60..3 * .3..3 / lood मोडेल-d * l / l
को
डच
विशेषता
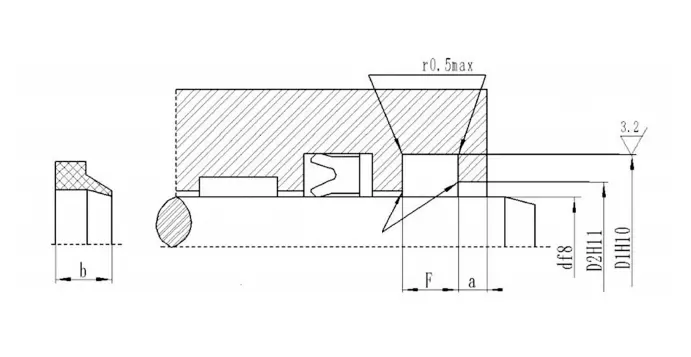
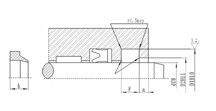
Rcf01| शाफ्ट व्यास दायरा d f8 |
ग्रुभ व्यास D h9 |
भूल चौराथ L+ +.2 |
खुला प्वाल व्यास D1हे 1 | खुल्ला प्वाल चौडाई ए आउठै |
गोलाकार कुनाहरू Rt |
O-ring तार व्यास dO |
| 19 ~ 39 | d + .6 | 4.2 | d + 1.5 | 3 | 0.8 | 2.65 |
| 40 ~ 69 | d + 8.8 | 6.3 | d + 1.5 | 3 | 0.8 | 2.65 |
| 70 ~ 139 | d + 12.2 | 8.1 | d + 2.0 | 4 | 0.8 | 3.55 |
| 140 ~ 3999 | d + 1 .0 | 9.5 | d + 2.5 | 5 | 1.5 | 5.30 |
| 400 ~ 69 69 | d + 24.0 | 14.0 | d + 2.5 | 8 | 1.5 | 7.00 |
| 650 ~ 1 00 0000 | d + 27..3 | 16.0 | d + 2.5 | 10 | 2.0 | 8.60 |
| शाफ्ट व्यास दायरा d f8 |
ग्रुभ व्यास D h9 |
भूल चौराथ L+ +.2 |
खुला प्वाल व्यास D1हे 1 | खुल्ला प्वाल चौडाई ए आउठै |
गोलाकार कुनाहरू Rt |
O-ring तार व्यास dO |
| ~ ~ 11 | d + 4.8 | 3.7 | d + 1.5 | 2 | 0.4 | 1.80 |
| 12 ~ 64 | d + 6.8 | 5.0 | d + 1.5 | 2 | 0.7 | 2.65 |
| 65 ~ 250 | d + 8.8 | 6.0 | d + 1.5 | 3 | 1.0 | 3.55 |
| 241 ~ 420 | d + 12.2 | 8.4 | d + 2.0 | 4 | 1.5 | 5.30 |
| 421 ~ 650 | d + 1 .0 | 11.0 | d + 2.0 | 4 | 1.5 | 7.00 |
| 651 ~ 1 10000 | d + 20.0 | 14.0 | d + 2.5 | 5 | 2.0 | 8.60 |
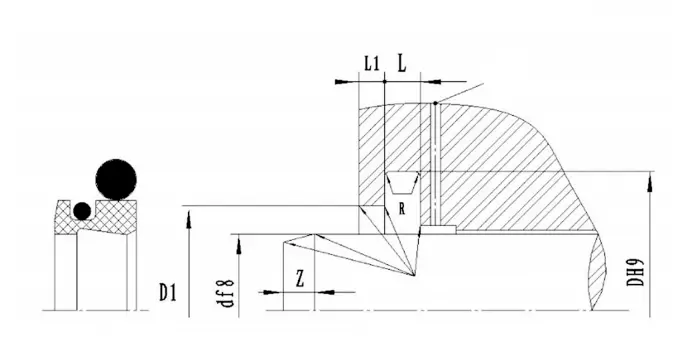
| शाफ्ट व्यास दायरा d f8 |
ग्रुभ व्यास डीएच |
चरण व्यास D1 H11 |
भूल चौराथ L+ +.2 |
समग्र चौडाई L1 |
गोलाकार कुनाहरू आरएमएमएक्स |
चेमर लम्बाई जिमिन |
| 20 ~ 39.9 | d + .6 | d + 1 | 4.2 | 8.2 | 0.4 | 3 |
| ~ 0 ~ 69 ..9 | d + 8.8 | d + 1.5 | 6.3 | 10.3 | 1.2 | 4 |
| ~ 0 ~ 1 ..9 .9 | d + 12.2 | d + 2.0 | 8.1 | 12.1 | 2 | 6 |
| 140 ~ 49999 ..9 | d + 1 .0 | d + 2.0 | 11.5 | 15.5 | 2 | 8 |
| 400 ~ 649 .9 ..9 | d + 24.0 | d + 2.5 | 15.5 | 19.5 | 2 | 10 |
| 650 ~ 1000 | d + 27..3 | d + 2.5 | 18.0 | 23.0 | 2 | 12 |
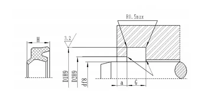
| शाफ्ट व्यास दायरा d f8 |
ग्रुभ व्यास डीएच |
चरण व्यास D1 H11 |
भूल चौराथ L+ +.2 |
साइड चौडाई L1 |
गोलाकार कुनाहरू आरएमएमएक्स |
चेमर लम्बाई जिमिन |
| 100 ~ 229 | d + 22.2 | D + 10.7 | 6.3 | 4.2 | 1.2 | 6 |
| 290 ~ 2999 | d + 24.2 | D + 10.7 | 6.3 | 4.2 | 1.2 | 8 |
| 300 ~ 629 | d + 33.0 | d + 1.1.1 | 8.1 | 6.3 | 1.2 | 10 |
| 60 600 ~ 1000 | d + 36 .. | d + 1.1.1 | 9.5 | 6.3 | 2 | 12 |
| उत्पादन संख्या | d | D1 | H | G+ +.3 | D2 | a |
| DHS 12 | 12 | 20 | 6 | 5 | 16.3 | 2 |
| DHS 14 | 14 | 22 | 6 | 5 | 18.3 | 2 |
| DHS 1 16 | 16 | 24 | 6 | 5 | 20.3 | 2 |
| Dhs 18 | 18 | 26 | 6 | 5 | 22.3 | 2 |
| Dhs 20 | 20 | 28 | 6 | 5 | 24.3 | 2 |
| Dhs 22 | 22 | 30 | 6 | 5 | 26.3 | 2 |
| Dhs 25 | 25 | 33 | 6 | 5 | 29.3 | 2 |
| Dhs 28 | 28 | 36 | 6 | 5 | 32.3 | 2 |
| DHS 30 | 30 | 38 | 6.5 | 6 | 34 | 2 |
| DHS2 | 32 | 40 | 6.5 | 6 | 36 | 2 |
| DHS 35 | 35 | 43 | 6.5 | 6 | 39 | 2 |
| Dhs 38 38 | 38 | 46 | 6.5 | 6 | 42 | 2 |
| DHS 40 | 40 | 48 | 6.5 | 6 | 44 | 2 |
| DHS 45 | 45 | 53 | 6.5 | 6 | 49 | 2 |
| DHS 48 | 48 | 56 | 6.5 | 6 | 52 | 2 |
| Dhs 50 | 50 | 58 | 6.5 | 6 | 54 | 2 |
| Dhs 55 | 55 | 63 | 6.5 | 6 | 59 | 2 |
| DHS 56 | 56 | 64 | 6.5 | 6 | 60 | 2 |



























































ठेगाना
No.1 Ruichehen सडक, डो ongliuting औद्योगिक पार्क, चेंग ang जिल्ला, Qingdao शहर, शान्डंग्रिंग प्रदेश, चीन
टेलिफोन