रोटरी वसन्त र्वष सिलहरू बीच, त्यहाँ मुख्य रूपमा दुई प्रकारका छन्: RC20555 र RC2056। Rickhen सिल धेरै वर्ष को लागी विकास र निर्माण को निर्माण र निर्माण को अध्ययन गरीरहेको छ। बिभिन्न परिस्थितिहरुका अनुसार बिभिन्न आवश्यकता अनुसार, यसले अधिक विस्तृत डिजाइनहरू पूर्ण गरेको छ।
RC2055 रोटरी प्यान-प्लग सील, RC20555 - बी रोटरी चुटेको मोहर, र आरसी 20555-c एक रोटरी वाई आकारको संयोजन छाप हो। तीनका ग्रूवहरू साकार हुन्छन्। तिनीहरू उच्च-प्रकार्य सिलहरू छन् शाफ्टहरू घुमाउरो दबाबमा लागू गरियो। ती मध्ये, RC205555555555555555 प्लग Shiple स्टेनलेस स्टील स्प्रिंग्स र उच्च-कार्य प्लास्टिकको रचना गरिएको छ। RC2055-B र RC2055-C प्रयोग गर्दा, मेलमिलाइट इलास्टमोर सामग्रीहरू प्रयोग गर्न आवश्यक छ।
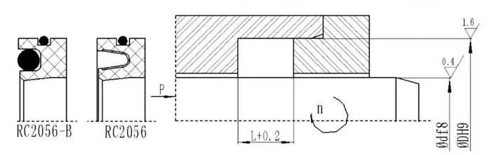
RC2056 रोटरी प्यान-प्लग सील, र RC2056-बी रोटरी Y आकारको संयोजन छाप हो। गंडाहरू पनि अन्तर्क्रिया गर्न सकिन्छ। यो घुमाउने शाफ्टहरूमा प्रयोगको लागि पनि उपयुक्त छ। ती मध्ये, RC2056 रोटरी प्यान-प्लगल स्लप स्टेनलेस स्टील स्प्रिंग्स र उच्च-कार्य प्लास्टिकको रचना गरिएको छ। RC2056-बी प्रयोग गर्दा, मिल्दो इलास्टमोर सामग्रीहरू प्रयोग गर्न आवश्यक छ।
उत्पाद सुविधाहरू र अनुप्रयोगहरू:
उत्पाद सुविधाहरू:
उच्च प्रदर्शन: स्टेनलेस स्टील स्प्रि .हरू र उच्च-कार्य प्लास्टिकहरू संयुक्त मुट्विन प्रदर्शन र स्थायित्व सुनिश्चित गर्नका लागि संयुक्त छन्।
आदानप्रदान: श्रृंखलामा उत्पादनहरूको ग्रूभ डिजाइन समान छ, जसले विभिन्न कार्य सर्तहरूमा विजेता र लचिलो अनुकूलन सक्षम गर्दछ।
व्यापक रूपमा लागू हुन्छ: विविध औद्योगिक आवश्यकताहरू पूरा गर्न घुमाउने शाफ्टहरूको एक-मार्ग दबाब मुहरहरूको लागि उपयुक्त।
वैकल्पिक इलास्टोमिटरहरू: RC20555-B, RC2055-C र RC2056-B अनुकूलनशीलता सुधार गर्न काम गर्ने सर्तहरू अनुसार इलास्टोमोर सामग्री मिल्दो चयनलाई समर्थन गर्नुहोस्।
आवेदन परिदृश्यहरू:
एक-मार्ग दबाव मुहरहरू घुमाउने शाफ्टहरू औद्योगिक उपकरण, ईन्जिनियरिंग मेसिनरी, हाइड्रोलिक प्रणालीहरू, आदि।
अवसरहरू जहाँ उच्च-प्रकार्य मुहर आवश्यक छ, जस्तै पेट्रोच्रामजिकल, ऊर्जा उपकरण, भारी मेसिनरी, आदि।
प्राविधिक लाभहरू:
स्टेनलेस स्टील स्प्रिंगहरूले लामो-अवधि मुद्रा प्रभावहरू सुनिश्चित गर्न स्थिर रेडियल बल प्रदान गर्दछ।
उच्च-कार्य प्लास्टिक र Elastomer सामग्रीको संयोजन उच्च दबाव र उच्च गति कार्य सर्तहरूको लागि उपयुक्त छ।
ग्रुपले अपरिवर्तनीय डिजाइन स्थापना र रखरखाव र प्रयोगको लागत कम गर्दछ।
उपयोग सुझावहरू:
उपयुक्त कार्य सर्त अनुसार उपयुक्त मोहर मोडेल र इलास्टमोर सामग्री चयन गर्नुहोस्।
सीलमा क्षतिबाट बच्न ग्रेभ सफा छ भनेर सुनिश्चित गर्नुहोस्।
RC2055555
लागू कार्य अवस्था (सीमा मानहरू एकै समयमा देखा पर्दैन)
| दवाउ (MPA) | ताप (℃) | चाल (m / s) | माध्यम | |||
| ≤≤5 | RC2055555 | RC20555-B / C | RC2055555 | Rc20555-b | RC2055-c | लगभग सबै तरल र ग्यास मिडिया |
| -200 ~ ~ 0 | -35 ~ ~~ 0 | <2m / s | Km / s | <2m / s | ||
भौतिक चयन
1 मिल्दो ओ-रिंग सामग्रीहरू चयन गर्न सकिन्छ: रो 1 नाइट्रिल रबर (एनबीआर), रो 2 फ्लोरोरोम्बुबर (FKEM), आदि।
2 RED RELIND RELIND सामग्री: PTFE1, PTFE2, PTFE3, PTFE4, UK1, PK2, PK2, PK2, PK2, PK2, PK2, PK2, PK2, PK2, EPC।
। स्टेनलेस स्टील वसन्त: v आकारको वसन्त।
अर्डरिंग उदाहरण
RC2055- 40-PTFE4 + V शाफ्ट व्यास 400, मुहर सामग्री ptfe4 हो, स्टेनले इस्पल स्टसस वसन्त हो
RC2055-B-R-PTFE4 + R02 शाब्दिक व्यास 400 हुन्छ, मुहर सामग्री ptfe4 हो, मिलान ओ-रिंग फ्लोरोरोबर छ
RC2055-C-C-PTFE4 + R02 शाब्दिक व्यास 400 हुन्छ, रेड गर्दै रिंगको PTFE4, मिल्दो ओ-रिंग फ्लोरोब्बर हो
प्रत्याशा प्यारामिटर तालिका (प्यारामिटर दायरा भित्र सबै विशिष्टताहरू उपलब्ध छन्)
| Rod व्यास दायरा d f8 | ग्रुभ व्यास डीएच | ग्रुव व्यास d1h10 | किनारा गहराई L1 | भूल चौराथ L | Shamfer K आयात गर्नुहोस् | रेडरियल क्लियरेन्सी को | चेमर लम्बाई | R अधिकतम | |
| 10 AppD | 20 माैउ | ||||||||
| ~ ~ ..। | d + 5 | d + 9 | 0.8585 -1.1 | 3.6 | 0.3 | 0.15 | 0.1 | ZIMN = 0.0.8l | 0.8 |
| 20 ~ 39.9 | d +। | D + 12.5 | 1.3535 -1.15 | 4.8 | 0.4 | 0.20 | 0.15 | 1.1 | |
| 40 ~ 400.9 | d + 10. | D + 1.5 .. | 1.8 -0.2 | 7.1 | 0.5 | 0.25 | 0.20 | 1.4 | |
| 401 ~ 0000 | d + 1 | d + 22 | 2.8 -0.2 | 9.5 | 0.5 | 0.30 | 0.25 | 1.6 | |
नोट: यो सिफारिस गरिन्छ कि घुमाउने शाफ्टको सतह कठोरता HRC x8 88.
RC20566
लागू कार्य अवस्था (सीमा मानहरू एकै समयमा देखा पर्दैन)
| दवाउ (MPA) | ताप (℃) | चाल (m / s) | माध्यम | ||
| ≤2 | RC20566 | RC2056-B | RC20566 | RC2056-B | लगभग सबै तरल र ग्यास मिडिया |
| -200 ~ ~ 0 | -35 ~ ~~ 0 | <14m / s | Km / s | ||
भौतिक चयन
1 मिल्दो ओ-रिंग सामग्रीहरू चयन गर्न सकिन्छ: रो 1 नाइट्रिल रबर (एनबीआर), रो 2 फ्लोरोरोम्बुबर (FKEM), आदि।
2 RED RELIND RELIND सामग्री: PTFE1, PTFE2, PTFE3, PTFE4, UK1, PK2, PK2, PK2, PK2, PK2, PK2, PK2, PK2, PK2, EPC। । स्टेनलेस स्टील वसन्त: v आकारको वसन्त।
अर्डरिंग उदाहरण
RC2056-40 * -2 *-PTFE4 + V D * l, मुठी मुहर ptfe4 हो, र स्टेनलेस स्टिल वसन्त v आकारको वसन्त हो RC2056-B-0 * * -2 *-PTFE4 + R02 D * l, सील pr * r * ptfe4, र मिलान ओ-रिंग फ्लोरोरोबर हो



















ठेगाना
No.1 Ruichehen सडक, डो ongliuting औद्योगिक पार्क, चेंग ang जिल्ला, Qingdao शहर, शान्डंग्रिंग प्रदेश, चीन
टेलिफोन