|
दबाव/MPa |
तापमान / डिग्री सेल्सियस |
गति /m/s |
मध्यम |
|
≤४० |
-35~+100 (मिल्दा NBR O-Rings संग) |
≤२ |
हाइड्रोलिक तेल, पायस, पानी, ग्याँस, आदि। |
-२०~+२०० (ओ-रिङ्स FKM सँग मिल्दोजुल्दो) |
1. उपयुक्त O-ring सामग्री समावेश: R01 Nitrile Butadiene रबर (NBR), R02 Fluororubber (FKM), आदि।
2. सील रिंग सामग्री: मानक सामग्री PTFE3 र PTFE4; अन्य वैकल्पिक सामग्रीहरूमा PTFE1, PTFE2, र PTFE5 समावेश छन्।
रुइचेनले कच्चा मालको सुरुदेखि नै स्वतन्त्र अनुसन्धान र विकास र उत्पादन गरेको छ, उत्पादनहरूको सम्पूर्ण श्रृंखलाको नियन्त्रण महसुस गर्दै।
1. इन्जिनियरिङ प्लास्टिक र कम्पोजिट सामग्री: हामी पोलिटेट्राफ्लुरोइथिलीन (PTFE) लाई कोरको रूपमा लिन्छौं, मिश्रण, सिन्टरिङदेखि मोल्डिङसम्म, सबै प्रकारका भरिएका परिमार्जित कम्पोजिट सामग्री ट्यूब र रडको स्वतन्त्र उत्पादन, र त्यसपछि सिलहरूमा सटीक प्रशोधन। यसले भौतिक गुणहरूको स्थिरता र अनुकूलनता सुनिश्चित गर्दछ।
2. उच्च-कार्यक्षमता पोलियुरेथेन इलास्टोमर: हामी प्रीपोलिमर कास्टिङबाट सुरु गर्छौं, स्वतन्त्र रूपमा उच्च गुणस्तरको पोलियुरेथेन पाइप र रड सामग्रीहरू उत्पादन गर्छौं, र तिनीहरूलाई विभिन्न प्रकारका सिलहरूमा प्रशोधन गर्छौं, जुन पहिरन प्रतिरोध, दबाव प्रतिरोध र हाइड्रोलिसिस प्रतिरोधमा उत्कृष्ट छन्।
अर्डर गर्ने उदाहरण
अर्डरिङ मोडेल RC2054—80×69×4.2—PTFE3—R01 Model-D*d*L- सामग्री कोड अर्डरिङ मोडेल RCX18—80×69x4.2—HPU Model-D*d*L- सामग्री कोड
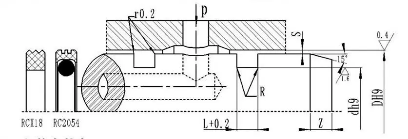
निर्दिष्टीकरण र प्यारामिटर तालिका (प्यारामिटर दायरा भित्र कुनै पनि विशिष्टता उपलब्ध छ)
|
एपर्चर दायरा DH9 |
खाडल व्यास dh9 |
खाडल चौडाइ L+0.2 |
रेडियल क्लियरेन्स Smax |
गोलाकार कुनाहरू Rmax |
च्याम्फर Zmin |
|
|
0~10Mpa |
10~20Mpa |
|||||
|
८~३९ |
D-4.9 |
2.2 |
0.15 |
0.1 |
0.4 |
2 |
|
४०~७९ |
D-7.5 |
3.2 |
0.2 |
0.15 |
0.6 |
3 |
|
८०~१३२ |
D-11.0 |
4.2 |
0.25 |
0.2 |
1.0 |
4 |
|
१३३~३२९ |
D-15.5 |
6.3 |
0.3 |
0.25 |
1.3 |
5 |
|
३३०~६६९ |
D-21.0 |
8.1 |
0.3 |
0.25 |
1.8 |
7 |
|
६७०~१५०० |
D-28.0 |
9.5 |
0.45 |
0.3 |
2.0 |
8 |
|
D |
d |
L |
D |
d |
L |
D |
d |
L |
D |
d |
L |
|
8 |
3.1 |
2.2 |
50 |
42.5 |
3.2 |
170 |
154.5 |
6.3 |
380 |
359.0 |
8.1 |
|
10 |
5.1 |
2.2 |
55 |
47.5 |
3.2 |
180 |
164.5 |
6.3 |
390 |
369.0 |
8.1 |
|
12 |
7.1 |
2.2 |
60 |
52.5 |
3.2 |
190 |
174.5 |
6.3 |
400 |
379.0 |
8.1 |
|
14 |
9.1 |
2.2 |
63 |
55.5 |
3.2 |
200 |
184.5 |
6.3 |
420 |
399.0 |
8.1 |
|
15 |
10.1 |
2.2 |
65 |
57.5 |
3.2 |
210 |
194.5 |
6.3 |
450 |
429.0 |
8.1 |
|
16 |
11.1 |
2.2 |
70 |
62.5 |
3.2 |
220 |
204.5 |
6.3 |
480 |
459.0 |
8.1 |
|
18 |
13.1 |
2.2 |
75 |
67.5 |
3.2 |
230 |
214.5 |
6.3 |
500 |
479.0 |
8.1 |
|
20 |
15.1 |
2.2 |
80 |
69.0 |
4.2 |
240 |
224.5 |
6.3 |
520 |
499.0 |
8.1 |
|
22 |
17.1 |
2.2 |
85 |
74.0 |
4.2 |
250 |
234.5 |
6.3 |
550 |
529.0 |
8.1 |
|
24 |
19.1 |
2.2 |
90 |
79.0 |
4.2 |
260 |
244.5 |
6.3 |
600 |
579.0 |
8.1 |
|
25 |
20.1 |
2.2 |
95 |
84.0 |
4.2 |
270 |
254.5 |
6.3 |
630 |
609.0 |
8.1 |
|
28 |
23.1 |
2.2 |
100 |
89.0 |
4.2 |
280 |
264.5 |
6.3 |
650 |
629.0 |
8.1 |
|
30 |
25.1 |
2.2 |
105 |
94.0 |
4.2 |
290 |
274.5 |
6.3 |
670 |
642.0 |
9.5 |
|
32 |
27.1 |
2.2 |
110 |
99.0 |
4.2 |
300 |
284.5 |
6.3 |
700 |
672.0 |
9.5 |
|
35 |
30.1 |
2.2 |
115 |
104.0 |
4.2 |
310 |
294.5 |
6.3 |
750 |
722.0 |
9.5 |
|
36 |
31.1 |
2.2 |
120 |
109.0 |
4.2 |
320 |
304.5 |
6.3 |
800 |
772.0 |
9.5 |
|
38 |
33.1 |
2.2 |
125 |
114.0 |
4.2 |
330 |
309.0 |
8.1 |
1000 |
972.0 |
9.5 |
|
40 |
32.5 |
3.2 |
130 |
119.0 |
4.2 |
340 |
319.0 |
8.1 |
|
|
|
|
42 |
34.5 |
3.2 |
140 |
124.5 |
6.3 |
350 |
329.0 |
8.1 |
|
|
|
|
45 |
37.5 |
3.2 |
150 |
134.5 |
6.3 |
360 |
339.0 |
8.1 |
|
|
|
|
48 |
40.5 |
3.2 |
160 |
144.5 |
6.3 |
370 |
349.0 |
8.1 |
|
|
|
नोट: आवश्यक विनिर्देशहरू यहाँ सूचीबद्ध छैनन्; कृपया हाम्रो कम्पनीलाई सम्पर्क गर्नुहोस्। हामी 2800mm को अधिकतम व्यास संग उत्पादनहरु प्रदान गर्दछौं।



ठेगाना
नम्बर १ रुइचेन रोड, डोन्ग्लिउटिङ इन्डस्ट्रियल पार्क, चेङयाङ जिल्ला, छिङदाओ शहर, शानडोङ प्रान्त, चीन
टेलिफोन